「分享网」
曝光
首页
最新项目
撸菜工具
本站推荐
合集系列
活动区
曝光
项目区
交流区
真假PG验证
黑屋
黑屋
签到
搜索
登录
曝光
1676澳门百家乐
1676澳门百家乐
guang7481
2024-3-26
5279
平台官网:
被黑金额:
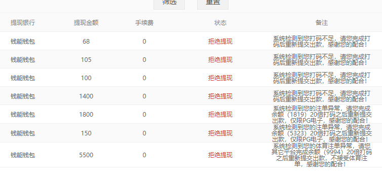
澳门百家乐纯黑台子
真他妈黑,充值八千进去,一分钱不给出款,一直叫你打20倍流水
上传的附件:
6903a00af54765149001d05c3d0629f7.png
(大小:65.75K,下载次数:8)
点赞
0
收藏
0
打赏作者
本站声明
1、本帖标题:
1676澳门百家乐
2、本站网址:
https://www.fxw3.cc/
3、本站资源均来自互联网-需自行判断与负责。每日更新(论坛内容仅用于 薅羊毛 白嫖 论坛严禁充值娱乐 严禁任何形式推广 发现一律提交当地公安 )感谢您的支持!
4、本站由菲律宾华人分享网公司运营,本站运营非盈利机构,请您满足18+ 后进行访问并确保你所在的当地区支持相关的游戏管理 支付、及支持服务等事宜, 游戏易上瘾,请注意节制。
收藏的用户(
0
)
X
正在加载信息~
最新回复
(
4
)
沙币太多
2024-3-26
0
4
楼
傻逼充值8000
狗庄的爹
2024-3-26
0
3
楼
本来就黑这个逼台,一点水都没有大大小小充值了一千,今天充一百玩麻将二还给我来了0.5倍
上传的附件:
mmexport1711460137701.jpg
(大小:293.22K,下载次数:0)
狗庄拿命来
2024-3-26
0
2
楼
傻逼真有钱一充值就是8千继续充值太少了应该充值80万
【分享网】
6
楼
登陆
丨
注册
评论
高级回复
返回
发新帖
guang7481
搜索
本站杜绝一切以赌博获利的存在,所有项目均来自互联网转载。收录内容真实性需自行判断,如出现任何问题本站免责。感谢理解